Products >> 2x2 Polarization Beam Combiner/Splitter

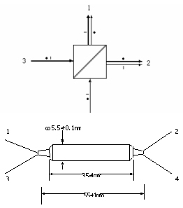
The Dual Polarization Beam Combiner / Splitter, 2x2 PBC/S, is a compact high performance lightwave component that combines or divides two orthogonal polarization signals into one or two output fibers. The most common applications are in polarization mode dispersion compensator, EDFA, Raman Amplifier, coherent telecommunication systems and fiber optic sensor. It is characterized with high extinction ratio, low insertion loss and high directivity.

Specifications
Dimension
Ordering Information
6F Gill Street, Woburn, MA 01801
Tel: 781-935 2800

Fax: 781-935 2860

©2002-2008 Boston Applied Technologies Incorporated. All rights reserved.